
PDF Publication Title:
Text from PDF Page: 009
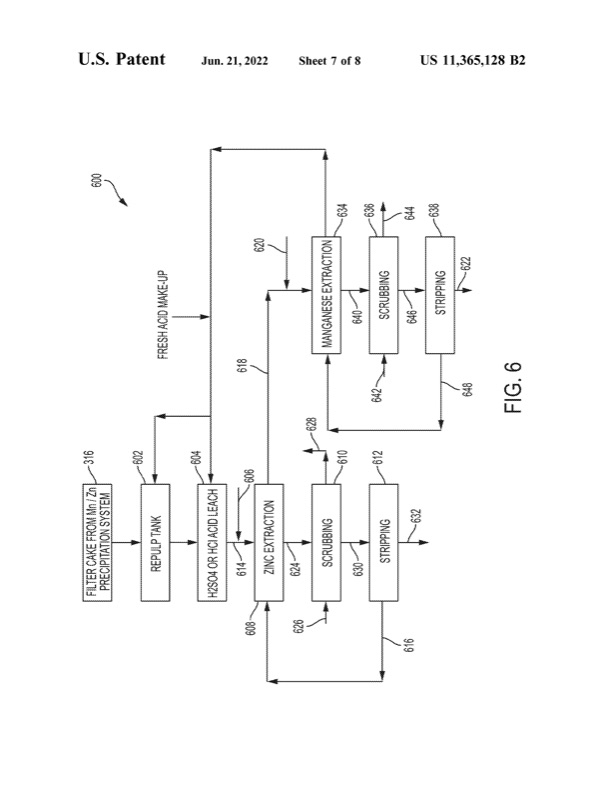
U.S.Patent Jun.21,2022 Sheet7of8 US11,365,128B2 316 602 604 Z/FMCLARTKOnOEMR EZXTIRACNTICON SCRUBINGSTRIPING FAM-URACEKIPSEDH 7 642 628 012 SPREYCISPITAETIMON 626 ? 620 618 606 EMXATNRGACNTEISOENSCRUBINGSTRIPING 640 646 TREAPNULKP OHALE2CSARICOID4H 614 624 630 634 636 64 638 -62 648 632 6F.IGPDF Image | RECOVERY OF LITHIUM FROM NATURAL AND SYNTHETIC BRINES
PDF Search Title:
RECOVERY OF LITHIUM FROM NATURAL AND SYNTHETIC BRINESOriginal File Name Searched:
US11365128.pdfDIY PDF Search: Google It | Yahoo | Bing
Product and Development Focus for Infinity Turbine
ORC Waste Heat Turbine and ORC System Build Plans: All turbine plans are $10,000 each. This allows you to build a system and then consider licensing for production after you have completed and tested a unit.Redox Flow Battery Technology: With the advent of the new USA tax credits for producing and selling batteries ($35/kW) we are focussing on a simple flow battery using shipping containers as the modular electrolyte storage units with tax credits up to $140,000 per system. Our main focus is on the salt battery. This battery can be used for both thermal and electrical storage applications. We call it the Cogeneration Battery or Cogen Battery. One project is converting salt (brine) based water conditioners to simultaneously produce power. In addition, there are many opportunities to extract Lithium from brine (salt lakes, groundwater, and producer water).Salt water or brine are huge sources for lithium. Most of the worlds lithium is acquired from a brine source. It's even in seawater in a low concentration. Brine is also a byproduct of huge powerplants, which can now use that as an electrolyte and a huge flow battery (which allows storage at the source).We welcome any business and equipment inquiries, as well as licensing our turbines for manufacturing.| CONTACT TEL: 608-238-6001 Email: greg@infinityturbine.com | RSS | AMP |